[특허] 스마트 조경 관리 구조물
관리자
2024.01.15
[특허] 스마트 조경 관리 구조물
1. 대표도

2. 발명의 명칭
스마트 조경 관리 구조물{Smart APPARATUS FOR landscaping management}
3. 출원번호 / 출원일자
10-2021-0165602
/ 2021-11-26
4. 등록번호 / 등록일자
10-2426250-00-00
/ 2022-07-25
5. 요약
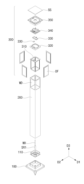
스마트 조경 관리 구조물은 지면과 평행하게 설치되는 평면부 및 상기 평면부로부터 하부로 돌출되어 끝단에 첨부가 형성되고 상기 평면부와 연결되는 부분에 개구부가 형성되는 쐐기부를 포함하는 지면 지지부, 상기 지면 지지부 상에 결합되고 내부에 센서 수용 홈이 형성되는 연결부, 상기 연결부와 결합되는 기둥 몸체, 및 상기 센서 수용홈에 수용되어, 상기 연결부 하부로 돌출되어, 상기 쐐기부의 상기 개구부를 통해 외부로 노출되어, 토양의 온도 및 습도를 측정하는 제1 센서를 포함한다.
- 이전 글
- [특허] 스마트 조경 관리 구조물 2024.01.15
- 다음 글
- [특허] 천장 내진 및 제진장치 2024.01.15





