[특허] 제진장치
관리자
2024.01.15
[특허] 제진장치
1. 대표도

2. 발명의 명칭
제진장치{Vibration Control Apparatus}
3. 출원번호 / 출원일자
10-2020-0151848
/ 2020-11-13
4. 등록번호 / 등록일자
10-2334833-00-00
/ 2021-11-30
5. 요약
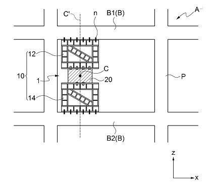
본 제진장치는 기둥 및 보로 구성된 구조물에 설치되며, 상측 보와 하측보에 각각 고정되는 상부 연결프레임과 하부 연결프레임과, 상부 연결프레임과, 하부 연결프레임 사이에 배치되는 제진모듈을 포함한다. 제진모듈은 상부 연결프레임과 하부 연결프레임 중 어느 하나의 연결프레임과 연결되는 외부프레임과, 외부프레임의 내부에 배치되되, 다른 하나의 연결프레임과 연결되는 내부프레임과, 일단이 외부프레임에 연결되고, 타단이 내부프레임에 연결되는 복수의 탄성유닛으로서, 외부프레임과 내부프레임에 회전가능하게 배치되는 스프링을 갖는 복수의 탄성유닛을 포함한다.
- 이전 글
- [특허] 프리캐스트 전단벽과 기초의 연결구조 및 시공방법 2024.01.15
- 다음 글
- [특허] 스크류 보강부재를 이용한 보강 구조의 시공 방법 2024.01.15





