[특허] 놀이시설용 태그 리더기 및 이를 포함하는 놀이기구
관리자
2024.01.15
[특허] 놀이시설용 태그 리더기 및 이를 포함하는 놀이기구
1. 대표도

2. 발명의 명칭
놀이시설용 태그 리더기 및 이를 포함하는 놀이기구{Tag reader device for amusement facility and playing equipment having the same}
3. 출원번호 / 출원일자
10-2020-0051323
/
2020-04-28
4. 등록번호 / 등록일자
10-2189896-00-00
/
2020-12-04
5. 요약
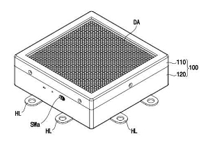
놀이시설용 태그 리더기는 영상을 표시하기 위한 디스플레이 모듈, 상기 디스플레이 모듈 상에 배치되고, RFID(radio frequency identification) 안테나가 형성된 안테나 기판, 상기 안테나 기판 상에 배치되는 보호 플레이트, 및 상기 디스플레이 모듈 및 상기 안테나 기판을 수용하는 수납 용기를 포함한다.
- 이전 글
- [특허] 놀이시설용 태그 시스템 및 이를 이용한 태그 인식 방법 2024.01.15
- 다음 글
- [특허] 개별 신선 냉동(Individual Fresh Frozen)을 이용한 닭고기 냉동 방법 및 장치 2024.01.15





