[특허] 개별 신선 냉동(Individual Fresh Frozen)을 이용한 닭고기 냉동 방법 및 장치
관리자
2024.01.15
[특허] 개별 신선 냉동(Individual Fresh Frozen)을 이용한 닭고기 냉동 방법 및 장치
1. 대표도

2. 발명의 명칭
개별 신선 냉동(Individual Fresh Frozen)을 이용한 닭고기 냉동 장치{APPARATUS FOR FREEZING CHICKEN USING INDIVIDUAL FRESH FROZEN}
3. 출원번호 / 출원일자
10-2019-0006073
/
2019-01-17
4. 등록번호 / 등록일자
10-2176275-00-00
/
2020-11-03
5. 요약
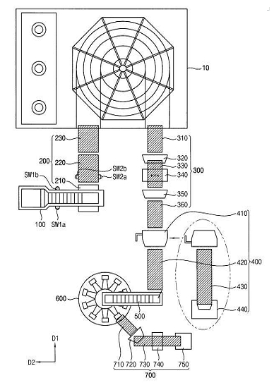
개별 신선 냉동(Individual Fresh Frozen)을 이용한 닭고기 냉동 장치는 원재료들을 이송하는 제1 이송부, 상기 제1 이송부로부터 전달 받은 상기 원재료들을 급속 동결시키는 냉동부, 상기 냉동부로부터 냉동된 상기 원재료들을 전달 받아 이송하는 제2 이송부, 및 상기 제2 이송부로부터 전달 받은 냉동된 상기 원재료들을 최종 제품 형태로 포장하는 포장부를 포함한다. 상기 제1 이송부는 상기 원재료를 상기 냉동부로 이송하는 투입 컨베이어 벨트, 및 상기 투입 컨베이어 벨트 하부에 배치되는 무릎 스위치를 포함한다.
- 이전 글
- [특허] 놀이시설용 태그 리더기 및 이를 포함하는 놀이기구 2024.01.15
- 다음 글
- [특허] 개별 신선 냉동(Individual Fresh Frozen)을 이용한 닭고기 냉동 방법 및 장치 2024.01.15





